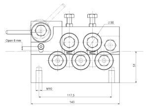
Enderezadores-Matadores de Tensión1.5mm - 3mm Wire Straightener 1.5 – 3mm SQ-5-3-ULTRA ** Descargar PDF